作者 | 观察团
来源 | 新经济观察团

一家偏安广西地方上的小贷公司、失信的股东,如何能高调运营20多个贷款APP?按照现金贷行业的玩儿法,它背后大概率有行业老熟人指点。
近日,新经济观察团小编在浏览华为应用商店时,无意中发现了一个有趣的小贷公司。这家公司名为南宁市同正旭宁小额贷款有限公司(以下简称“南宁同正旭宁小贷”),旗下居然上架了10个贷款APP,包括随心借、放心花借款、闪借备用金、马上救急花等等,其中多个的下载量超过了10万+。根据行业经验和名称判断,这些APP大概率是贷款超市,即只负责层层导流借款人信息,并不实际放款。

实际上,这些APP下面评论区也显示,是“第三方中介不放款”、转三四个APP、“套娃软件”、“骗取信息”。
那么,堪称贷超“小王国”的这家小贷公司是什么来头?是谁在负责实际运营?与行业资深人士是否有关系?我们就此展开了深入调查。
01
贷超“小王国”:坐拥15个贷款APP,股东还无牌运营11个
工商信息显示,南宁同正旭宁小贷成立于2013年12月,法定代表人为覃静,实缴资本5000万元(远不满足经营网络小贷业务的基本门槛),经营范围包括“办理各项小额贷款业务”等,参保人数为0。
2021年,这家小贷公司名称从桂林市庆宏小额贷款有限公司更名为南宁同正旭宁小贷,并完成注册地址和法定代表人变更。
南宁同正旭宁小贷有9个股东,其中大股东为桂林市亿铭贸易有限公司(以下简称“亿铭贸易”)持股20%,其余八名自然人分别持股10%。
公司实控人为蒋双林,他和亿铭贸易均为失信被执行人、被限制高消费。
企查查显示,南宁同正旭宁小贷旗下有14个贷款APP的知识产权,上架时间从2024年12月到2025年5月,十分密集。此外,该公司还有“有钱借平台”的著作权。这样算是15个贷款APP。

而作为股东的亿铭贸易,按理说没有放款资质,也没有贷款APP的上架资质,但却因为有上述小贷公司20%的股权,也堂而皇之地注册了11个贷款APP的知识产权,上架时间是今年3月-4月,也非常密集。
也就是说,两家公司共计注册了26个APP。
不仅如此,其中任意借等7个APP真的在华为应用商店里“粉墨登场”,且软件开发者均为亿铭贸易。加上文章开头提到的10个以南宁同正旭宁小贷名义上架的APP,目前两家公司合计上架的APP有17个。其余那9个“马甲”包,大概率已经被弃用。

而这26个贷款APP的logo和简介都十分相似,给人感觉像批量生产,名字也大多有头部金融机构旗下产品的影子。
但如上文提到的,这些贷款APP的评论区显示,疑似骗取贷款人信息,根本不放款。而这也是很多不良贷款超市的玩法。过去多年,非法、无牌贷款超市带来的虚假宣传、信息泄露、数据滥用等问题,已经被监管层多次整顿。
02
大佬身影:与贤俊江有关联,后者曾因贷超业务违法被判3年
小贷公司偏安一隅、股东失信被执行,这样一家小贷公司很明显不具备运营20多个贷款APP的能力,这背后“看不见的手”值得我们关注。
而突破口就在亿铭贸易这里。亿铭贸易对外投资成立了两家公司,除了南宁同正旭宁小贷,还有一家名为海南闲人网络科技有限公司(以下简称“闲人网络”),为第一大股东,持股51%。
闲人网络另一家股东为青岛凡金互联网信息服务有限公司(以下简称“青岛凡金”)成立于2020年4月,旗下有分期花、比贷、闪钱、乐优花等APP的知识产权。2022年,蓝鲸财经曾报道称,同程数科导流的产品包括青岛凡金运营的“白条信用”。由此可见,青岛凡金具备较长的现金贷行业的运营历史,有可能是26个APP背后的操盘手。
但青岛凡金与南宁同正旭宁小贷的合作关系究竟是租借牌照还是代运营,我们没法直接下结论。如果是租借牌照,那就明确违反《小额贷款公司监督管理暂行办法》,需要加强关注。
而进一步分析青岛凡金以及实控人王晓腾,会发现他们与一位知名的贷超大佬——贤俊江存在众多关联。
其中,青岛凡金与贤俊江担任法定代表人和实控人的北京更广天地网络科技有限公司(下称“更广天地公司”)、北京更广智金科技有限公司、深圳想象创投有限公司以及北京想象互联信息技术有限公司,有相同的电话和邮箱。

其次,王晓腾担任法定代表人、执行董事和总经理的吉安市井开区而立金融信息服务有限公司(下称“吉安公司”),由贤俊江担任监事,更广天地公司为唯一股东,持股100%。
再次,王晓腾担任法定代表人、执行董事和总经理的海南百安征信服务有限公司(该公司2022年已被注销),也由贤俊江担任监事。
王晓腾高峰期曾关联11家公司,但如今仍在运营的只有青岛凡金和吉安公司,可见这两家公司的重要性。
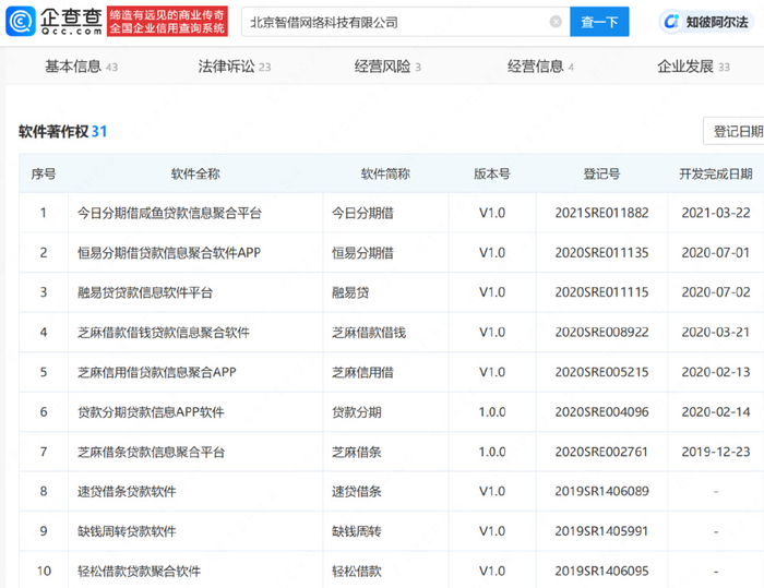
而贤俊江的知名度更高。2016年-2019年,贤俊江曾围绕核心公司北京智借网络科技有限公司(以下简称“北京智借”),打造了一个知名贷超帝国,并获利颇丰,但最终碰触法律红线最终锒铛入狱。
北京智借成立于2016年9月,注册资本为500万元,旗下拥有速贷之家、放心借贷等31个贷超软件的著作权。除了北京智借,贤俊江还成立了更广天地公司、北京大王管钱网络科技有限公司等30家公司。据此前的报道,这些APP累计注册用户数千万,年营业额超亿元。

2021年初,《北京智借网络科技有限公司、贤俊江等侵犯公某个人信息罪一审刑事判决书》被公布。
根据判决书,北京智借法定代表人贤俊江,因涉嫌侵犯公民个人信息罪,于2020年1月7日被仪征市公安局刑事拘留,同年1月20日被该局取保候审,同年9月8日被仪征市人民检察院取保候审。

裁判文书显示,被告人贤俊江等人明知公司没有贷款资质,仍编辑“一键贷”贷款申请页面投放网络,诱骗被害人申请注册,收集被害人个人信息,在未取得被害人授权情况下,通过API接口传输的方式,向下游多家不特定信息服务公司出售包含姓名、身份证号、手机号等信息的个人信息,销售金额共计3169629.6元(约317万元)。
法院判决,智借公司因犯侵犯公民个人信息罪,判处罚金320元;贤俊江犯被判处有期徒刑3年,缓刑3年,并处罚金30万元;赵奇英、盛秋实、王梦灿等分别被判处有期徒刑6个月至1年6个月不等,并处罚金2万元至15万元不等。
在此之前,智借还因为侵犯平安普惠等金融机构的商标、冒用品牌等问题被多次起诉,贤俊江一度成为失信被执行人。
近期,有业内人士向小编透露,“贤俊江已经出来了,去年底开始上架了一些(贷款)包”。
虽然我们并不清楚南宁同正旭宁小贷与王晓腾、贤俊江等人的真实关系,后者又是否真实介入上述20多个贷款APP的运营当中,但从上述软件的评论区来看,这种运营贷款超市的路径,似乎与裁判文书中的描述有些似曾相识的感觉。作为旁观者,新经济观察团也只有静观其变。
*声明:新经济观察团登载此文出于传递更多信息之目的,不构成任何建议。原创文章未获授权不得转载。
